Контрольная работа: Аппаратура для современной жидкостной хроматографии
Контрольная работа: Аппаратура для современной жидкостной хроматографии
Контрольная
работа на тему:
Аппаратура для современной
жидкостной хроматографии
АППАРАТУРА ДЛЯ ВЭЖХ
В современной
жидкостной хроматографии используют приборы самой различной степени сложности —
от наиболее простых систем, собранных из минимально необходимого количества
блоков, до комплектных хроматографов, снабженных мини-компьютерами, которые контролируют
заданные рабочие параметры, формируют градиент подвижной фазы, управляют
различными дополнительными устройствами (автоматический ввод 1-пробы, коллектор
фракций и др.) и проводят обработку получаемых данных. Комплектные приборы с
высокой степенью автоматизации обычно обеспечивают высокую производительность и
точность результатов, что особенно важно в производственных условиях для
контроля качества продукции. Однако самостоятельная сборка хроматографа из
отдельных блоков дает возможность легко модифицировать прибор в зависимости от
поставленной задачи и более эффективно использовать имеющееся оборудование.
Рис. 1.1. Принципиальная схема жидкостного
хроматографа: 1 — сосуд для подвижной фазы; 2 — насос; 3 — манометр; 4 —
фильтр; 5 — демпфер; 6 — термостат; 7 — инжектор; 8 — колонка; 9 —детектор; 10
— самописец

На рис. 1.1
представлена принципиальная схема современного жидкостного хроматографа. При
необходимости этот продетой прибор может быть снабжен различными
дополнительными устройствами.
1.1.
НАСОСЫ
Современные
насосы для жидкостной хроматографии представляют собой прецизионные устройства, обеспечивающие постоянную подачу растворителя
в колонку и способные создавать давления до нескольких десятков
мегапаскалей. Производительность насосов находится в диапазоне от 1 мкл/мин
(микроколоночная и капиллярная хроматография) до 25—100 мл/мин (препаративная
хроматография). Насосы для ВЭЖХ должны удовлетворять следующим основным
требованиям.
1. Химическая инертность
материалов по отношению к подвижной фазе. Металлические детали насоса,
контактирующие с подвижной фазой, обычно изготавливают из нержавеющей стали, а
уплотнения—из высокоинертных нерастворимых материалов (как правило, на основе
фторопласта или полиимидов). Нержавеющая сталь не является полностью инертным
материалом и коррозирует под действием сильных оснований, некоторых солей и
слабой хлороводородной кислоты, которая часто присутствует в виде примеси в
галогеносодержащих растворителях. Для особых случаев эти детали изготавливают
из более стойких материалов — титана, специальных сплавов или керамики.
Некоторые уплотнения разрушаются под действием отдельных растворителей (чаще
всего хлорированных углеводородов), поэтому необходимо строго соблюдать
рекомендации, изложенные в инструкции к насосу.
2. Достаточно
высокое рабочее давление. Необходимое рабочее давление определяется
сопротивлением используемых колонок и скоростью потока и может колебаться в
весьма широких пределах. Можно считать, что давление 15—20 МПа достаточно для
решения большинства аналитических задач. Однако лучше иметь насос с
полутора—двукратным запасом подавлению, так как при этом существенно
облегчаются условия его работы, особенно уплотнений и клапанов. В данном случае
стабильность потока подвижной фазы будет сохраняться значительно дольше, чем у
насоса, работающего при давлениях, близких к предельным.
3.
Высокая стабильность скорости потока. Точность поддержания
скорости потока в колонке во многом определяет результаты как качественного,
так и количественного анализа. Для основных вариантов ВЭЖХ нестабильность
потока не должна превышать 0,5—1%. В эксклюзионной хроматографии при анализе
молекулярно-массового распределения полимеров требования еще выше—0,1—0,3%.
Кроме того, весьма желательно, чтобы насос не давал пульсации потока и имел
малый рабочий объем для быстрой смены растворителя в режиме градиентного.
элюирования. Все насосы для ВЭЖХ делятся на две группы: постоянного расхода и
постоянного давления. Главными достоинствами насосов постоянного давления
являются высокая производительность и отсутствие пульсации. Наиболее
совершенной конструкцией насосов этого типа является насос с пневмоусилителем,
принципиальное устройство которого показано на рис. 1.2. Поршень 1 большого
диаметра, приводимый в действие газом, поступающим по штуцеру 2, связан с
поршнем 3 меньшего диаметра, который через систему клапанов 4 осуществляет
подачу жидкости из резервуара в колонку. Для быстрого перезаполнения насоса
обратный ход поршня происходит под действием давления газа, поступающего через
штуцер 5. Максимальное давление, развиваемое таким насосом, зависит от
отношения площадей поршней и входного давления газа. В известном насосе фирмы
«Хаскел», используемом для упаковки колонок, оно достигает 100 МПа. Основной
недостаток насосов постоянного давления — изменение расхода подвижной фазы при
изменении сопротивления системы. Сопротивление колонки может повыситься из-за
загрязнения входного фильтра, насадки или предколоночного фильтра. Оно меняется
с изменением вязкости растворителя, происходящим при колебаниях температуры и
практически всегда наблюдающимся при градиентном элюировании. Поэтому насосы
данного типа постепенно вытесняются насосами постоянного расхода и применяются, главным образом, в препаративной
хроматографии и для набивки колонок.
Рис. 1.2. Схема насоса постоянного давления 1—поршень воздушного цилиндра; 2, 5 — штуцеры
подачи воздуха; 3 — поршень насоса;4 — клапаны

Рис. 1.3. Схема поршневого насоса постоянного
расхода: 1 — электродвигатель; 2 —
эксцентрик; 3 — поршень; 4 — уплотнение; 5 — цилиндр; 6 — входной
клапан; 7 — выходной клапан; 8 — возвратная пружина

Насосы
постоянного расхода разделяются на две основные группы: шприцевые и
возвратно-поступательные. Шприцевые насосы, как следует из их названия, по
конструкции представляют собой шприц достаточно большой вместимости, в котором
электродвигатель через силовую передачу перемещает поршень, выдавливающий растворитель
с постоянной скоростью. После прохождения всего рабочего объема шприца поток
прерывается для перезаполнения поршня. Из-за этого недостатка и сложности
изготовления уплотнений большого диаметра шприцевые иасосы средней
производительности (до 5—10 мл/мин) практически вышли из употребления. Однако в
связи с быстрым развитием микроколоночной хроматографии, в которой расход
подвижной фазы сравнительно невелик, конструкторы насосов вновь возвращаются к
этой системе, важными достоинствами которой являются высокая точность,
беспульсационная подача растворителя и отсутствие клапанов. Видимо, в ближайшем
будущем можно ожидать значительного увеличения выпуска шприцевых насосов малой
производительности. Возвратно-поступательные насосы используют в ВЭЖХ наиболее
широко, так как они удовлетворяют большинству требований. Практически
единственный их принципиальный недостаток — пульсация потока, для сглаживания
которой применяют специальные демпфирующие устройства, описанные ниже. Менее
существенны недостатки — нарушение нормальной работы клапанов за счет их
загрязнения механическими примесями в подвижной фазе и образование паровых
пробок во время такта всасывания при работе с растворителями, имеющими высокое
давление паров (пентан, метиленхлорид и др.). Данные насосы выпускают двух
типов: поршневые, или плунжерные, и мембранные, или диафрагменные. В обоих
случаях прокачивание растворителя происходит за счет возвратно-поступательного
движения поршня или мембраны в полости, ограниченной шариковыми клапанами.
В мембранных
насосах поршень перемещается в полости с маслом, вызывая знакопеременные изгибы
мембраны, укрепленной на другой стороне полости. Достоинством данных насосов
является отсутствие контакта растворителя с уплотнением поршня. При этом
существенно снижаются требования к материалу уплотнения поршня, а продукты его
эрозии не могут засорить клапаны насоса. Изменение производительности насоса
осуществляется либо изменением рабочего объема цилиндра (посредством
ограничения хода поршня), либо изменением частоты перемещения поршня. Второй
способ обеспечивает более точную подачу растворителя, особенно при низких
расходах.
В насосах с
обычной круглой формой эксцентрика продолжительность тактов всасывания и
нагнетания одинакова, что приводит к достаточно высокому уровню пульсации
потока. Конструкторам удалось заметно снизить пульсацию за счет использования
эксцентриков специально рассчитанной сложной формы, которые обеспечивают резкое
сокращение протяженности такта всасывания. При окончании такта нагнетания
происходит быстрее перезаполнение насоса и сразу же начинается новый цикл.
Высокая стабильность потока достигнута также при существенном уменьшении
рабочего объема насоса с одновременным увеличением частоты движения поршня (до
50 Гц). В этом случае растворитель подается маленькими порциями, быстро
следующими друг за другом.
Недостатком
описанных систем является повышенная склонность к образованию паровых пробок
при работе с легкокипящими растворителями, поэтому в некоторых конструкциях
введено специальное регулирование продолжительности перезаполнения насоса. Очень
часто для снижения пульсации используют насосы с двумя и даже с тремя головками
и различные системы электронного регулирования. Уровень пульсации у простого
насоса с одной головкой составляет около 9%; применение двух головок,
работающих в противофазе, снижает его примерно до 3%. Наиболее сложные насосы с
тремя головками и специально рассчитанной формой кулачка при малом рабочем
объеме обеспечивают подачу растворителя почти без пульсации с неравномерностью
не более 0,2%. По последним данным, применение схем электронного регулирования
с обратной связью позволяет снизить эту величину вдвое.
При давлениях
выше 10—15 МПа начинает проявляться сжимаемость некоторых растворителей, что
приводит к уменьшению скорости потока. Поэтому многие насосы снабжают
специальными системами поправки на сжимаемость подвижной фазы.
Достоинством
поршневых насосов является возможность легко изменять производительность за
счет использования сменных головок с иным диаметром поршня. Смена головки
занимает не более нескольких минут. Ко многим моделям насосов выпускаются
сменные головки для препаративной хроматографии с производительностью до 25—50
мл/мин, а некоторые конструкции имеют до трех сменных головок.
Большинство
современных насосов снабжено указателями и ограничителями нижнего и верхнего
пределов рабочего давления. Давление в хроматографической системе является
исключительно важным параметром, и его необходимо контролировать. Для этой цели
обычно используют указатель давления с проточными тензодатчиками. Объем
датчиков очень мал, поэтому не возникает затруднений при замене растворителя в
градиентном элюировании. Ограничители давления автоматически отключают насос
при выходе давления из установленного диапазона, что существенно повышает безопасность
работы. Ограничитель верхнего предела также очень полезен для предотвращения
порчи колонок с некоторыми сорбентами, которые могут разрушиться при превышении
допустимого для них рабочего давления. Одним из последних достижений является
новая конструкция насосной системы, разработанная фирмой «Хьюлет Пакард» (США)
для жидкостного хроматографа модели 1090. В этой весьма сложной системе
разделены функции точного дозирования жидкости и создания необходимого
давления, что в частности, устраняет влияние сжимаемости жидкости на точность
подачи. Блок дозирования представляет собой сдвоенный шприцевой насос с
вместимостью каждого шприца 110 мкл, с шаговым электродвигателем и переключающим клапаном. Когда один шприц подает
растворитель, другой заполняется. Объем, соответствующий одному «шагу»
электродвигателя, составляет 7 нл. В конце цикла направление хода поршней
меняется и одновременно срабатывает быстродействующий
клапан, переключающий направление потоков жидкости. Процесс переключения
занимает всего 50 мс. Давление, создаваемое шприцевым насосом, не превышает 0,6
МПа. В приборе могут быть установлены три таких блока, что позволяет работать в
режиме градиентного элюирования с тремя растворителями. Из блоков дозирования,
управляемых микропроцессором, растворители поступают в смеситель вместимостью 9
мкл, затем в диафрагменный насос, работающий с частотой 10 Гц по обычной схеме
и создающий давление до 44 МПа, и далее в демпфер малого объема. В описанной
системе достигнуты поистине уникальные характеристики: при скорости потока от 1
мкл/мин до 5 мл/мин нестабильность потока составляет менее 1%, а
воспроизводимость результатов в режиме градиентного элюирования лучше 1%. Такие
параметры позволяют успешно работать с колонками любых типов, применяемыми в
аналитической ВЭЖХ. Разнообразие конструкционных решений, направленных на
стабилизацию расхода растворителя, привело к тому, что ассортимент
возвратно-поступательных насосов, выпускаемых различными фирмами мира, весьма
широк. В то же время не существует насоса, имеющего наивысшие эксплуатационные
характеристики для всех возможных областей
применения. Хотя наиболее сложные и дорогие модели, естественно, дают наилучшие
результаты, но для их эксплуатации требуется, высокая квалификация оператора и
обслуживающего персонала. Так, в насосе с тремя головками вероятность засорения
клапана значительно выше, а отыскать засоренный клапан гораздо труднее, чем в
насосе с одной головкой. Поэтому такие насосы следует применять только при
необходимости наивысшей точности подачи растворителя, например в эксклюзионной
хроматографии полимеров. Можно считать, что в большинстве вариантов ВЭЖХ вполне
удовлетворительную работу обеспечит насос с двумя головками, оптимизированной формой эксцентрика и регулированием расхода путем
изменения частоты ходов поршня.
1.2 УСТРОЙСТВА ДЛЯ ФОРМИРОВАНИЯ ГРАДИЕНТА
Назначение
устройства для формирования градиента — изменять в ходе анализа состав
растворителя таким образом, чтобы его элюирующая сила постоянно увеличивалась в
соответствии с выбранным законом. Это должно обеспечить элюирование из колонки
как слабо, так и сильно удерживающихся веществ с хорошим разделением в виде
узких пиков правильной формы и за относительно короткое время анализа.
Устройства для формирования градиента могут быть простыми по конструкции или
сложными в зависимости от того, какой вид градиента требуется, как часто он
используется, какой насос имеется в наличии и т.д. Простейший вид градиента — ступенчатый,
для его осуществления на вход насоса устанавливают многоходовой кран, которым
последовательно подают в насос растворители от самого слабого до самого
сильного, через выбираемые исследователем интервалы времени, поворачивая кран.
Такой вид градиента может быть легко автоматизирован, если к крану добавить
поворачивающее его устройство и соединить его с таймером. Недостаток
ступенчатого градиента — резкие отклонения нулевой линии детекторов, когда до
кюветы доходит граница нового растворителя, а также трудность проведения
количественного анализа. Близким к такому ступенчатому градиенту является
используемый в хроматографе «Милихром». Он формируется в. насосе по принципу
«коктейля», несмешивающиеся слои заранее приготовленных растворов разной элюирующей силы последовательно набирают в
шприц насоса от самого сильного до самого слабого. В шприце насоса формируется,
таким образом, многоступенчатый градиент.
Рис. 1.4. Схема
устройства для создания градиента низкого давления с двумя сообщающимися
сосудами и кранами: 1 — кран; 2 — камера
смешения; 3 — магнитная мешалка; 4 — к насосу; А и Б — слабый и сильный
растворители

Объем каждого
слоя и его элюирующая сила подбираются исследователем экспериментально, на
каждый новый анализ градиент набирается снова. При наборе слоев в шприц и при
их подаче в колонку границы слоев размываются, это уменьшает резкость ступенек
градиента и приближает его к градиенту с плавным профилем.
Одно из простых
устройств для создания плавного градиента изображено на рис. 1.4. Оно представляет
собой систему с двумя сообщающимися сосудами конической формы. Когда все-краны
открыты, уровни в сосудах с растворителями А и Б одинаковы. По мере
расходования растворителей в насос будет попадать смесь, содержащая все больше
растворителя Б и все меньше—растворителя А. Меняя форму сосудов, их объем и
подачу насоса, можно получить градиенты разной формы.
Экспоненциальные
градиенты можно получить с использованием приспособления, сделанного из шприца
(рис. 1.5). В шприц набирают определенный объем слабого растворителя А. Этот
объем можно менять, передвигая поршень шприца. Если включить подачу насоса,
сначала на колонку будет подаваться растворитель А, который затем будет по
экспоненциальному заколу смешиваться с более сильным растворителем Б. Форму
получаемого градиента можно менять, подбирая концентрации растворов А и Б,
вместимость камеры шприца и скорость подачи растворителя насосом. Рассчитанное
на высокое давление устройство аналогичной конструкции может быть установлено
между насосом и инжектором. Оно также позволяет получить экспоненциальный
градиент. Его преимущество — возможность создания градиента для микроколонок с
одним насосом, так как при этом вместимость насоса и подводящих трубок не
искажает и не задерживает начала градиента. Недостаток приведенных устройств
для формирования градиента — сложность работы с ними, низкая воспроизводимость,
трудность подготовки многих смесей растворителей,
невозможность точного формирования градиента заданной формы, а ценность в том,
что в затруднительных случаях с помощью относительно несложных самодельных
устройств удается решить задачи, принципиально нерешаемые изократически. Устройство
для формирования градиента произвольной формы делятся на две большие группы:
устройства формирования градиента при низком давлении (на входе в насос) и при
высоком давлении (на выходе из двух или более насосов). Обе группы имеют
преимущества и недостатки. Появление и развитие новых приспособлений, методов
работы и вариантов ВЭЖХ позволило уменьшить недостатки обоих вариантов устройств
формирования градиента и не дало окончательного преимущества ни тому, ни
другому. Система формирования градиента при высоком давлении изображена на рис.
1.6 (часть системы до инжектора). Как видно из рисунка, программатор 6
управляет шаговыми двигателями насосов, подающими растворители А и Б в
постоянно меняющемся по выбранному
исследователем закону соотношении. Растворители поступают в динамический
(иногда статический, менее эффективный) смеситель с магнитной мешалкой,
смешиваются и подаются на инжектор и колонку. Как видно из схемы, по сравнению
с изократической система усложняется и, следовательно, стоит дороже:
добавляются второй насос, программатор и смеситель, ряд электрических и гидравлических линий. Если потребуется градиент
из трех или четырех растворителей, то для этой схемы будут необходимы
дополнительно еще 1 или 2 насоса.
Рис. 1.5. Схема
устройства для создания градиента низкого давления с использованием шприца: 1 — кран; 2 — шприц; 3 — поршень шприца; 4 —
камера смешения; 5 — магнитная мешалка; 6 — к насосу; А и Б — слабый и
сильный растворители

Рис. 1.6. Схема устройства для создания градиента
высокого давления: 1 — к инжектору; 2 — смеситель; 3 — магнитная мешалка; 4 —
насос для подачи растворителя А; 5 — насос для подачи растворителя Б; 6
— программатор; А и Б — слабый и сильный растворители

Рис. 1.7. Схема устройства с клапанами для
создания градиента низкого давления: 1 — к инжектору; 2 — смеситель; 3 —
магнитная мешалка; 4 — насос; 5,6 — клапаны; 7 — программатор; А и Б —
слабый и сильный растворители

Схема
формирования градиента при низком давлении представлена на рис. 1.7. Управление
градиентом также возложено на программатор, однако управляет он не насосом, а
двумя электромагнитными клапанами, открывая или закрывая тот или другой по
заданной программе. Этим обеспечивается поступление на вход насоса 4 смеси
растворителей А и Б в заданном соотношении. Смесь перемешивается в клапанной
системе, подводящих линиях, поршневых камерах и окончательно становится
однородной в смесителе.
На первый взгляд кажется, что система эта проще и
лучше предыдущей: клапанная система стоит, очевидно, дешевле
дополнительного насоса. Однако клапанная система, работающая при некотором
разрежении, из-за сложной геометрии и в условиях смешивания при этом двух
растворителей, содержащих растворенные газы, при обычной дегазации работает с постоянными отказами.
Образовавшиеся при смешивании пузырьки налипают в клапанах и поршневых
камерах, насос перестает подавать растворитель. Это особенно характерно для
обращенно-фазных и буферных растворов, широко применяющихся в ВЭЖХ. Сложно не
только провести глубокую дегазацию, но и. предохранять дегазированные
растворители от контакта с воздухом, приводящему к растворению газов.
Стоимость
сложных дегазирующих устройств в сумме со стоимостью клапанной системы примерно
уравнивают цену приборов, работающих с градиентом высокого и низкого давления. Однако если у исследователя
возникает необходимость в градиенте из трех или четырех растворителей,
прибор с градиентом низкого давления при прочих равных условиях окажется
дешевле.
Таким образом,
суммируя преимущества и недостатки устройств для создания градиента высокого и
низкого давления, можно сделать следующие выводы.
Устройство для
создания градиента высокого давления продето и стабильно в работе, не требует
особой дегазации растворителей, легко перестраивается для препаративной,
полумикро- и микроколоночной работы. Оно может работать с относительно дешевыми насосами с шаговым двигателем и
одним плунжером, работающими по циклу: медленная подача — быстрое
перезаполнение. Оно может иметь встроенные в насосные линии и не вызывающие
особых проблем непроточные манометры, демпферы большого объема, колонки со
специальными сорбентами, «полирующими» один или оба растворителя, — все это не
сказывается на воспроизводимости и точности градиента. Устройство для создания
градиента низкого давления должно обязательно иметь надежную систему глубокой
дегазации, без которой стабильная работа невозможна. Это может быть или система дегазации продувкой
растворителей непрерывным током гелия в процессе работы (большой ток
вначале, и медленный для поддержания дегазированного состояния); расход гелия
при этом значителен. Можно использовать систему динамической дегазации
растворителей при их прохождении через полупроницаемые фторопластовые трубки из
полимера особого сорта, находящиеся в вакууме; она стоит довольно дорого, но
позволяет избежать расхода гелия и получить растворители, из которых удалено
более 99% растворенных газов. Устройство для создания градиента низкого
давления должно работать с насосами, всасывающими и подающими растворители; их
невозможно использовать для микроколоночной и трудно — для препаративной работы
большой производительности. Программаторы градиента создаются, как правило, на
базе персональных микроЭВМ с объемом памяти от 48 до 64 К. Запись программ
градиента ведется на гибких дисках или же с использованием кассет и
магнитофонов. При работе с более старыми моделями требуется ежедневный набор
программ оператором. Если для создания градиента и управления им используют
микро-ЭВМ с достаточно большим объемом памяти и возможностью гибкого
программирования с использованием языка БЭЙСИК, часто эту же ЭВМ используют и
для обработки полученных хроматограмм. Смесители представляют собой камеру
небольшой вместимости из нержавеющей стали с помещенной внутрь магнитной
мешалкой, привод которой находится снаружи. Для однородности перемешивания в
некоторых моделях используют двойную камеру с двумя магнитными мешалками от
одного привода. Объем таких смесителей обычно составляет 1—1,5 мл. Если
смешение осуществляется неэффективно, растворитель в колонку и далее в детектор
поступает негомогенный. Это приводит к нарушению хроматографического процесса в
колонке и заметно увеличивает шумы детектора. Если хроматографист забыл включить
в сеть магнитную мешалку, негомогенность состава растворителя и шумы детектора
достигают максимального значения.
Статические
смесители, представляющие собой каналы сложной формы, предназначенные для
смешения за счет столкновения потоков, менее эффективны. Для препаративной
работы требуются смесители со значительно большей вместимостью, рассчитанные на
работу с большими подачами растворителей. Для микроколоночной ВЭЖХ с градиентом
растворителя необходим микросмеситель вместимостью менее 100 мкл; попытка использовать
смеситель на 1—1,5 мл приводит к сильному искажению формы градиента. Это легко
понять, так как расход )астворителя при работе с микроколонками диаметром 1 мм
составляет 30 мкл/мин. Растворитель в большом смесителе будет-(аменен новым за
30—50 мин.
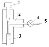
1.3 ИНЖЕКТОРЫ
Инжекторы для
ввода пробы должны обеспечивать ввод проб от 0,1 мкл до нескольких миллилитров
(соответственно в микро- и препаративных колонках) с высокой воспроизводимосгью
при давлениях до 30—50 МПа. Размывание пробы в инжекторе должно быть
минимальным. Инжекторы должны работать при повышенных температурах и в среде
активных растворителей и реагентов, при этом их уплотнения должны быть
механически прочными. Было предложено большое число конструкций инжекторов
разных типов, многие из которых из-за сложности изготовления, и ненадежности
работы, высокой стоимости не получили широкого распространения. Рассмотрим типы
инжекторов, используемых в ВЭЖХ. Простейшим является инжектор с остановкой
потока («стоп флоу»). Он включает кран для перекрывания потока перед инжектором
и тройник, к которому подсоединены колонка, подводящий растворитель капилляр и
заглушка (рис. 1.8). Когда нужно ввести пробу, останавливают насос, перекрывают
кран, отворачивают заглушку, набирают пробу в микрошприц, вводят иглу до рупора
в фильтр колонки, наносят пробу, вынимают микрошприц, заворачивают заглушку,
открывают кран и включают насос. Поток растворителя вымывает пробу в колонку.
Инжектор прост по конструкции, легко может быть изготовлен самостоятельно.
Недостатки: много ручных операций при работе, нестационарность потока
растворителя дает ложный пик и затрудняет точные количественные измерения
удерживания, эффективности и других параметров. 1 — заглушка; 2 — корпус инжектора; 3 — колонка; 4 — кран для остановки
потока; 5 — подача растворителя от насоса Рис. 1.9. Схема работы петлевого инжектора: а — заполнение петли
пробой; б — ввод пробы на колонку1— к
петле; 2 — к насосу; 3 — к колонке; 4 — ввод пробы; 5, 6 — сброс избытка пробы;
7 — петля Инжектор с резиновой мембраной по конструкции похож на
предыдущий, в нем не используют кран
остановки потока растворителя и на месте заглушки зажимается упругая резиновая
мембрана. Ввод пробы осуществляют микрошприцем, рассчитанным на работу в
герметичных условиях при высоких давлениях. Пробу вводят в поток растворителя
без его остановки путем прокалывания мембраны, введения микрошприца до упора
иглы в фильтр колонки и нанесения пробы. Инжектор прост по конструкции и легко
может быть изготовлен.
Рис. 1.8. Инжектор с остановкой потока растворителя: 

Основной
недостаток — наличие резиновой мембраны, которая набухает в растворителях,
теряет герметичность при многих проколах, выделяет в поток растворителя
ингредиенты, дающие ложные пики и повышающие фон и шумы детектора. Частицы
мембраны, выкрашивающиеся при проколах, загрязняют входной фильтр колонки,
создают эффект «памяти». Выбор для мембраны марки резины, наиболее устойчивой к
данному растворителю, использование мембран многослойных с наружными слоями из
фторполимеров или из металлической фольги позволяет уменьшить, но не исключить
эти недостатки. Микрошприцы высокого давления также дороги, более трудно
промываются и менее надежны, чем обычные. Этот тип инжектора также используют в
основном для учебных целей. Наибольшее распространение имеют петлевые инжекторы
(петлевые краны). Пробу вводят в петлю заданной вместимости при давлении, близком
к атмосферному, с помощью микрошприца или шприца. Затем поворотом крана петля
сообщается с линией подачи растворителя от
насоса и входом колонки, проба вымывается из петли и попадает в колонку.
Схема работы одного из петлевых инжекторов представлена на рис. 8.9. В
положении «заполнение петли» поток растворителя от насоса идет непосредственно
в колонку, а петля соединяется с линиями «сброс» и «ввод пробы» и находится при
атмосферном давлении. В этом положении петля промывается чистым растворителем с
помощью шприца вместимостью 2—5 мл от остатков предыдущей пробы, затем с
помощью микрошприца в петлю вводится определенный объем пробы. Проба может вводиться либо с полным заполнением петли, либо с
ее частичным заполнением. Первый способ является предпочтительным при
количественном анализе и позволяет получить наиболее воспроизводимые результаты
анализа. Он требует для полного заполнения петли подачи в нее объема пробы, в
5—6 раз превышающего вместимость петли. Это необходимо для полного вытеснения
из петли растворителя пробой. Частичное заполнение петли удобнее, так как
позволяет, не меняя петли вместимостью, например, 50 мкл, вводить пробы от 1 до
40 мкл. При этом объем пробы, попадающий в петлю, не должен превышать примерно
4/5 вместимости петли. Так как объем пробы, попадающий в петлю в этом случае,
не точно равен тому, который подан микрошприцем (так как часть пробы остается в
подводящих каналах от конца микрошприца до начала петли), то точность количественного анализа в этом случае
будет ниже, чем при полном заполнении петли. Ясно представлять, что
происходит при заполнении петли, очень важно для выбора наилучшего способа
работы с инжектором того или иного типа. Почему при полном заполнении петли
нужно вводить 4—5 объемов пробы? Почему при частичном заполнении нельзя вводить
больше 80% от вместимости петли? Это связано с гидродинамикой заполнения петли
и иллюстрируется рис. 8.10. Из схемы видно, что из-за трения у стенок петли
остается исходный растворитель, а передний фронт приобретает форму «языка». Если
при частичном заполнении петли подать объем, равный вместимости петли или
близкий к нему, часть «языка» выйдет за пределы петли в слив и не попадет в
колонку. Точно так же при полном заполнении петли, не вытеснив весь
растворитель от стенок, невозможно получить воспроизводимых результатов
анализа. В канале 3 остается часть пробы,
которая не попадает в колонку при частичном заполнении петли. Ясно, что
чем она меньше, тем лучше для работы. У инжекторов разной конструкции эта часть пробы может быть от нескольких
десятых долей микролитра до 7 — 15 мкл.
Рис. 1.10. Схема размывания пробы при заполнении
петли: 1 — игла микрошприца; 2—уплотнение иглы; 3 — канал с пробой, не
попадающей в колонку; 4 — петля; 5 — «язык» фронта пробы

—j________________ ЮЛ. ______________
1 2 3 4 5
Петлевые инжекторы обычно могут работать при
давлениях до 49—70 МПа, однако срок их службы значительно удлиняется,
если прижим трущихся деталей уменьшается так, чтобы герметичность сохранялась
до 35 МПа. Это разумно, так как очень редко работа проводится при давлениях
выше 35 МПа. Если это все же нужно, то увеличить давление нажимных пружин можно
очень быстро и просто за несколько минут.
Петлевые
инжекторы делятся на имеющие внешнюю и внутреннюю петли. Внешние петли представляют собой обычно куски
капилляра определенной вместимости, которые можно легко заменить.
Внутренние петли представляют собой каналы определенной вместимости,
выполненные в теле инжектора. Как правило, вместимость внутренних петель мала
(0,06—10 мкл), и инжекторы такого типа предназначаются для микроколоночной
ВЭЖХ. Смена такой внутренней петли—это, как правило, достаточно сложная
разборка с заменой узла инжектора на новый, имеющий другой объем канала.
Поэтому для упрощения работы иногда такие инжекторы снабжают несколькими
внутренними петлями, которые по желанию могут находиться в рабочей или запасной
позиции. Есть инжекторы, которые могут перестраиваться от варианта работы с
внутренней петлей к работе с внешней петлей. Некоторые инжекторы снабжаются
устройствами для фильтрования вводимых образцов. Существуют пневматические или
электрические приводы к инжекторам, позволяющие вводить пробу по команде от
микропроцессора.
Приобретая
инжектор, всегда следует внимательно ознакомиться с особенностями его
конструкции: какой мертвый объем до петли, какое сечение каналов, при какой
температуре и давлении инжектор может работать, какие петли можно с ним
использовать. Учитывая, что выходят из строя пластмассовые детали уплотнения,
нужно их приобрести заранее, так же как и конусные муфты, накидные гайки и
капилляры для изготовления разных петель.
Кроме ручных
инжекторов, существуют многочисленные конструкции полностью автоматических
инжекторов, которые в соответствии с заданной программой могут вводить от 20 до
100 и более образцов. Они обеспечивают выполнение всех циклов ввода пробы:
промывку петли, заполнение, ввод пробы автоматически. При этом
последовательность анализа образцов и число вводов одной и той же пробы могут
быть заданы. Они довольно дороги, как правило, требуют линии сжатого воздуха
для работы и высококвалифицированного обслуживания. Поэтому их применение
оправдано только в тех случаях, когда необходимо анализировать большое
количество идентичных проб.
Наконец,
следует упомянуть об инжекторах-насосах, способных по команде подать на колонку
пробу определенного объема и остановиться. Их применение полностью оправдано,
когда нужно многократно подавать на препаративную колонку воспроизводимо и без
размывания один и тот же образец. С использованием такого насоса, управляемого
микропроцессором коллектора фракций, можно легко собрать автоматическую
препаративную изократическую систему, стоящую очень недорого.
1.4 ДЕТЕКТОРЫ ДЛЯ ВЭЖХ
Детекторы для
ВЭЖХ должны фиксировать изменение каких-либо свойств растворителя, выходящего
из колонки, связанное с наличием в нем анализируемых веществ. Это может быть
вменение оптических свойств элюента (в ИК-, УФ- или видимой области), его
показателя преломления, способности флюоресцировать, электропроводности,
способности окисляться или восстанавливаться, диэлектрической проницаемости и
т.д.
Детекторы
подразделяются на селективные и универсальные. Селективные детекторы способны
зафиксировать элюирование интересующих исследователя веществ, обладающих специфическими
свойствами, на фоне многих других компонентов, такими свойствами не обладающих.
Эти детекторы (флюоресцентный, электрохимический и др.) находят широкое
применение в анализе следовых количеств лекарственных препаратов в биологических образцах, микропримесей,
биогенных аминов. Универсальные детекторы должны реагировать на
элюирование любых веществ вне зависимости от того, обладают они какими-то
особыми свойствами или нет. Такие детекторы находят широкое применение в
органической химии, нефтехимии, фармацевтической, химической, медицинской
промышленности, биологических науках. Какими же свойствами должен обладать
идеальный детектор для ВЭЖХ? Он не должен
вызывать размывания зоны пика, выходящего из колонки, и ее уширения. Должен иметь
высокую чувствительность и отклик на прохождение вещества, который можно
предсказать. Образец не должен разлагаться, проходя через детектор. Изменения
температуры, скорости потока и состава растворителя не должны влиять на
работоспособность детектора. Отклик детектора на количество вещества должен
быть линейным, и линейный диапазон должен
быть широким. Детектор должен быть простым и удобным в работе и
обслуживании. Детектор при прохождении вещества должен давать не только количественную информацию, но и
качественную, подтверждающую состав или строение вещества. Отклик
детектора должен появляться при прохождении через кювету любого вещества, этот
отклик не должен зависеть от растворителя, он должен быть быстрым. Детекторы,
используемые для ВЭЖХ, конечно, далеко не в полной мере обладают свойствами
идеального детектора. Таких, приближающихся по характеристикам к идеальным детекторам, как пламенно-ионизационный
или по теплопроводности в газовой хроматографии, в ВЭЖХ нет. Однако
имеющийся ассортимент детекторов позволяет выполнять многие интересные работы,
причем этот ассортимент постоянно пополняется новыми разработками.
Какие же
характеристики детекторов нужно принимать во внимание, подбирая подходящий для
данной задачи детектор? Эти характеристики следует подразделять на те, которые
связаны с самой конструкцией детектора, и на те, которые зависят от свойств
растворителя, анализируемого вещества. Каждый детектор характеризуется
определенным шумом, который для разных типов
детекторов выражается в разных единицах. Его обычно определяют производители детекторов
условиях, когда он минимален. Чем меньше шум у детектора по сравнению с другим
такого же типа, тем лучше использованные конструкционные элементы, более
удачная схема, лучше регулировка. Разница в шуме у разных детекторов одного
типа может составлять порядок и даже больше (по данным фирм-производителей).
Другая очень важная величина — это дрейф нулевой
линии, который определяется смещением нулевой линии в процессе работы
детектора за определенный отрезок времени после прогрева. Эта величина также
может иметь разницу у детекторов одного типа более чем на порядок. Вместимость
кюветы детектора является фактором, наряду с ее геометрией (размывающей или
неразмывающей), определяющим, насколько могут быть размыты пики, попадающие в
нее из колонки. Вместимость кюветы должна быть не более 0,1 объема первого
пика, который представляет интерес для исследователя (например, если первый
такой пик выходит в объеме 30 мкл, вместимость кюветы не должна превышать 3 мкл). Это особенно существенно для
экспресс-анализов методом ВЭЖХ, выполняемых на коротких (3—5 см)
колонках, заполненных сорбентом зернением 3 мкм. Важно это и длЯг-микроколонок
диаметром 2, 1 мм и менее.
Исказить пик
может также недостаточное быстродействие детектора (этот недостаток наиболее часто встречается у
детекторов старой разработки); если это так, то более ранние пики будут
шире и ниже их реальной формы. Однако быстродействие более чем 0,1 с (кроме
прямой стыковки детектора с ЭВМ) также бесполезно, ввиду того что быстродействие
самописцев и интеграторов обычно составляет 0,3—0,4 с отклика на 90% шкалы.
Нелишне отметить, что использование самописца с медленным откликом приводит к
такому же эффекту.
Линейный
динамический диапазон, характеризующий диапазон концентраций, в котором отклик
детектора пропорционален концентрации, у детектора должен быть широким
(желательно более 105), для того чтобы из одного анализа можно было
определять как основные компоненты, так и примеси, содержащиеся в следовых
количествах.
Наконец, если
детектор работает в градиентном режиме или в условиях, не исключающих
некоторого изменения окружающей температуры, очень большое значение имеет
нечувствительность детектора к флуктуациям температуры, скорости потока и
изменению состава растворителя и стабильность его отклика вне зависимости от
изменения этих условий.
1.4.1 Фотометры для работы в ультрафиолетовом и
видимом диапазонах
Фотометры,
работающие в УФ-диапазоне, пожалуй, являются наиболее широко распространенными и популярными детекторами в
ВЭЖХ. Это связано с их относительно низкой стоимостью, надежностью
работы лампы (до 6000 ч и более), нечувствительностью к изменению температуры и
состава растворителя.
Принципиальная
схема простейшего УФ-фотометра представлена на рис. 1.11. Источником
УФ-излучения в нем является ртутная лампа низкого или среднего давления,
имеющая интенсивные линейчатые спектры, из которых лучи с определенной длиной
волны вырезаются с помощью фильтров. Ртутная лампа низкого давления около 90%
энергии излучает при 254 нм, что дает возможность исключить фильтры. Иногда с
ее помощью возбуждают излучение фосфорного экрана при 280 нм, которое
используют как вторую длину волны. Другие лампы в сочетании с фильтрами и
(иногда) блоками питания позволяют работать при 206, 214, 229, 254, 280, 313, 334,
365 нм и более (т.е. в видимой области). Стоимость таких ламп, блоков питания к
ним и фильтров определяет, имеет ли смысл использовать их или же перейти к
спектрофотометрическому детектору. Большое значение
имеет, конечно, срок службы таких ламп, который заметно различается от 300— 500
ч (что близко к сpoкy службы дейтериевой лампы спектрофотометра) до 5000—6000 ч
— этим также определяют преимущества перед спектрофотометром. Нередко
стоимость такого «сложного» фотометрического детектора с полным набором
фильтров, ламп, блоков питания не меньше, а больше стоимости
спектрофотометрического детектора.
Рис. 1.11. Принципиальная схема УФ-фотометра с фильтрами: 1 — фотоприемник; 2 — рабочая микрокювета; 3 —
фильтр; 4 — ртутная лампа; 5 — микрокювета сравнения

Следует
отметить, что очень многие органические вещества достаточно интенсивно
поглощают при 254 нм. Это все ароматические и полиароматические соединения,
гетероциклические соединения, вещества, содержащие в своем составе гетероатомы,
карбонильную группу и многие другие. Во всех этих случаях применение
простейшего дешевого и надежного УФ-фотометра целиком оправдано.
Чувствительность этого прибора достигла 0,001—0,0002 е.о.п. на всю шкалу, а
характеристики по шумам и дрейфу заметно
улучшились. Появились в продаже для них и полные комплекты кювет от микроколоночных
(0,5 — 2 мкл) до препаративных (с длиной оптического пути 0,1 — 0,5 мм).
Выпускаются УФ-фотометры, приближающиеся к спектрофотометрам. В них, в качестве
источника излучения вмонтирована дейтериевая лампа с широким спектром от 190 до
360 нм, вместо дорогого монохроматора используют фильтр. Если набор нужных длин
волн невелик, стоимость такого фотометра с набором фильтров заметно ниже, чем
спектрофотометра.
1.4.2 Спектрофотометрические детекторы
Если в
упрощенной схеме фотометра лампу заменить на такой источник излучения, который
может излучать монохроматический свет любой требуемой длины волны без
применения фильтров, это и будет схемой спектрофотометрического детектора для
ВЭЖХ. Описания достаточно сложных оптических схем такого источника излучения
можно найти в большинстве руководств по ВЭЖХ. С помощью таких схем из широкого,
непрерывного спектра излучения дейтериевой лампы (190—360 нм) и лампы видимого
света (длина волны более 360 нм) с использованием голографической решетки
вырезается более или менее узкая полоса УФ- или видимого излучения. Это
излучение и попадает в сравнительную и рабочую кюветы, которые далее работают по
той же схеме, по которой устроен фотометр. Различия между разными конструкциями
спектрофотометрических детекторов вызываются более или менее удачными
оптическими схемами, более узким или широким пучком монохроматического света,
лучшей или худшей воспроизводимостью «повторной установки той же длины волны.
Различают также УФ-спектро-фотометрические детекторы, использующие в качестве
источника излучения только дейтериевую лампу, и работающие в УФ-и видимом
диапазонах — они дополнительно оснащаются лампой видимого света.
Характеристики
разных спектрофотометров так же, как фотометров, могут заметно различаться по
шумам, дрейфу нулевой линии, максимальной чувствительности — эта разница может
составить более одного порядка. Особенно большая разница между старыми моделями
менее удачной разработки, оптические и электронные блоки которых из-за
длительной работы состарены и уже не обеспечивают паспортных характеристик, и
новыми моделями последних разработок. Это следует учитывать, особенно в тех случаях, когда достижение максимально возможной
чувствительности только и позволяет решить поставленную задачу. Если
такая задача не ставится, нет смысла гнаться за рекордными показателями
спектрофотометра, а лучше выбрать более дешевую модель, но в более полной
комплектации. Основная трудность при работе со спектрофотометрами — это
относительно короткий срок службы довольно дорогих дейтериевых ламп. Он
составляет обычно 300—700, редко 1000 ч, после чего шумы резко возрастают и
лампу необходимо менять. Если спектрофотометр предполагается установить и
эксплуатировать в условиях атмосферы, содержащей пары органических веществ,
воды, пыли (например, в производственных лабораториях), целесообразно
приобрести спектрофотометр, чувствительная оптическая схема которого герметично
защищена от вредного влияния загрязнений атмосферы. Этому же способствует
регулярная замена осушителя, обычно силикагеля, помещаемого внутри
спектрофотометра. Необходимо укомплектовать
спектрофотометр запасными дейтериевыми лампами, запасными кварцевыми
окнами и прокладками для кюветы (прокладки часто одноразового использования),
микроколоночной и препаративной кюветами, если такие режимы работы могут
понадобиться. Спектрофотометр по своим характеристикам приближается к
универсальным и селективным детекторам (в зависимости от выбранной длины
волны). При длинах волн, близких к 190 нм, он позволяет детектировать сахара,
жиры, сложные и простые эфиры, ПАВ полиоксиэтиленгликолевого ряда и другие
вещества, практически не поглощающие УФ-излучения
при 210 нм и выше — здесь он приближается к универсальному детектору. Некоторые
спектрофотометры оснащены добавочными устройствами, которые позволяют записать
(остановив поток растворителя в момент прохождения пика через кювету)
ультрафиолетовый спектр пика, соответствующего данному веществу. Такая
возможность часто представляется начинающим очень заманчивой. Однако следует учитывать, что УФ-спектр сам по себе не очень
информативный. Можно поступить проще, собрав препаративно фракции,
соответствующие интересующим пикам, и исследовать не только их
УФ-спектры, но и другие физико-химические характеристики. Существуют быстро
сканирующие спектрофотометрические детекторы, которые позволяют снять УФ-спектр
вещества при его прохождении через кювету без остановки потока. Один из
наиболее удачных детекторов такого типа используют в хроматографе «Милихром», в
котором с помощью зеркала, поворачивающегося по заданной программе на
определенный угол с заданной частотой, кюветы с образцом и сравнительная кювета
освещаются последовательно монохроматическими лучами с выбранными оператором
различными длинами волн. Получаемая при этом хроматограмма, представляющая
собой комбинацию из двух, трех или более хроматограмм, снятых при разных длинах
волн, позволяет получить качественную информацию о возможных примесях,
замаскированных в одном пике, о природе и структуре вещества, о длине волны,
при которой поглощение данного вещества максимально и можно определить его
минимальное количество. Эта информация часто позволяет по одной хроматограмме
решить сразу несколько достаточно сложных задач: обнаружить примеси, установить
чистоту веществ, определить длину волны, при которой поглощение каждого
вещества наибольшее, провести идентификацию. Работать с таким детектором,
конечно, сложнее, чем с простым спектрофотометром. Существуют еще более
усложненные спектрофотометры, например такие, которые позволяют, в соответствии
с записанной программой, изменять длину волны для каждого пика или группы пиков
таким образом, чтобы получить максимальную чувствительность. Длина волны при
этом меняется автоматически несколько раз за время анализа. В заключение
хотелось бы подчеркнуть два положения. Применению спектрофотометров как
универсальных детекторов, работающих при длинах волн около 200 нм, в большой
мере препятствует очень малый выбор растворителей, УФ-прозрачных в этом
диапазоне. Только тщательно очищенные ацетонитрил и вода могут использоваться в
обращенно-фазном варианте при 200 нм и ниже. Получить такие высокочистые
растворители очень трудно, и стоят они дорого. Еще труднее очистить для работы
в этой области алканы (гексан, гептан и др.).
1.4.3
Рефрактометрические детекторы
Дифференциальный
рефрактометр непрерывно регистрирует изменение показателя преломления элюата на
выходе из колонки. Главным достоинством этого детектора является
универсальность, так как при выборе подходящего растворителя он может
детектировать любые вещества. Поэтому он занимает второе место (после
УФ-детектора) по частоте использования. К другим достоинствам рефрактометра
относятся возможность работы с любыми растворителями в широком интервале
скорости потока, невысокие требования к чистоте подвижной фазы, надежность и
удобство в эксплуатации. Некоторые модели детекторов могут работать при
температуре до 150 °С, что является исключительно важным для эксклюзионной
хроматографии ряда синтетических полимеров.
Рефрактометр
представляет собой недеструктивный концентрационный детектор средней
чувствительности. Последняя определяется разностью показателей преломления
элюента и анализируемых веществ и часто может быть повышена за счет правильного
выбора подвижной фазы. В оптимальных условиях предел обнаружения для
рефрактометра достигает 5•10-7 г/мл. Основные недостатки
рефрактометрических детекторов— практическая невозможность использования при
градиентном элюировании и необходимость тщательной стабилизации температуры.
Для работы на максимальной чувствительности нужно поддерживать температуру
элюента и обеих ячеек кюветы. с точностью до 10-3-10-4°С,
что затруднительно даже при помещении кюветы в металлический блок с большой
теплоемкостью и использовании эффективных теплообменников. Последние, в свою
очередь, увеличивают мертвый объем между колонкой и кюветой детектора, что
приводит к дополнительному размыванию хроматографических зон и снижению
эффективности разделения.
Рефрактометры
весьма чувствительны к пульсации потока, поэтому при работе с этими детекторами
необходимо применять демпфирующие устройства.
Промышленность
производит рефрактометрические детекторы трех типов, различающиеся принципами
измерения.
Рефрактометр
оптического отклонения — наиболее распространенный тип данного прибора. Принцип действия детектора основан на том, что при
прохождении луча света через кювету, заполненную двумя жидкостями с
различными показателями преломления, луч отклоняется на угол, пропорциональный
разности этих показателей преломления.
Принципиальная
схема рефрактометра показана на рис. 8.12. Свет от лампы 1 проходит через маску
2, собирается в параллельный пучок линзой 3 и попадает в кювету. Кювета
представляет собой две ячейки в виде призм с общей гранью; в измерительную
ячейку 4 поступает элюент из колонки, а сравнительная ячейка 5 заполнена чистым
растворителем. При изменении показателя преломления в измерительной ячейке луч света
отклоняется от первоначального направления, отражается зеркалом 6 обратно в
кювету, снова отклоняется и через линзу 3 фокусируется на фотосопротивлении 7.
Последнее вырабатывает электрический сигнал, пропорциональный положению луча
света, который усиливается электронным усилителем 8. Специальная стеклянная
пластина 9 служит для установления оптического нуля.
Рефрактометр
оптического отклонения может работать с любыми растворителями и имеет широкий
диапазон линейности. Вместимость кюветы обычно равна 10 мкл, а порог
чувствительности составляет 5•10-8-2•10-7 ед. рефракции.
К этому типу принадлежат широко известный рефрактометр R401
фирмы «Уотерс» и уникальный лазерный рефрактометр ЛР-1 [24] с вместимостью
кюветы всего 0,1 мкл.
Рис. 1.13. Схема рефрактометра Френеля: 1 —
призма; 2 — зеркальная стальная пластина; 3 — проектор; 4 — кюветы; 5 — фокусирующие линзы; 6 — сдвоенное фотосопротивление

Рефрактометр
Френеля. Действие данного детектора основано на законе Френеля, который гласит,
что количество света, отраженного от поверхности раздела двух веществ (жидкости
и стекла), пропорционально разности показателей преломления этих веществ и углу
падения света на поверхность раздела. Для получения максимальной
чувствительности угол отражения должен быть близок к критическому. Основой конструкции рефрактометра Френеля (рис.
8.13) является стеклянная призма 7 с углом при вершине 90°, основание
которой является верхней стенкой кювет. Измерительная и сравнительная
щелевидные кюветы образованы отверстиями специальной формы в тонкой прокладке
из фторопласта, зажатой между основанием призмы 1 и зеркальной пластиной из нержавеющей
стали 2 (нижняя стенка кювет), которая одновременно является теплообменником.
Проектор 3 вырабатывает два параллельных пучка света, которые сфокусированы на
поверхности раздела стекла и жидкости в рабочей и сравнительной кюветах 4.
Световой поток в кюветах проходит через тонкий слой жидкости и отражается от
пластины 2. Отраженный свет фокусируется линзами 5 на измерительное и
сравнительное фотосопротивления 6. Разностный сигнал усиливается электронным
усилителем. Проектор 3 смонтирован на отдельной оптической скамье, которую
можно поворачивать для изменения угла падения и поддержания угла отражения,
близким к критическому. Главным достоинством рефрактометра Френеля является
малая вместимость кюветы — 3—5 мкл, что позволяет принять его в сочетании с современными
высокоэффективными колонками. Основные недостатки — необходимость использования
двух призм (1,31—1,44 и 1,40—1,55) для перекрывания всего требуемого диапазона
показателей преломления растворителей и очень высокие требования к чистоте
кювет. Этот детектор наиболее чувствителен к пульсациям потока и имеет меньший
диапазон линейности, чем рефрактометр
оптического отклонения, а порог чувствительности— ~10-7 ед.
рефракции.
Основным
производителем рефрактометров Френеля является фирма «LDC» (детекторы типа
«Рефрактомонитор»). Интерферометрический рефрактометр относительно недавно
разработан фирмой «Оптилаб» (Швеция) и выпускается только разработчиком. Он
представляет собой интерферометр c двумя Проточными кюветами, который измеряет
разность показателей Преломления в единицах длины световой волны. По данным
фирмы, у этого детектора очень высокая линейность сигнала, а чувствительность
на порядок выше, чем у других дефрактометров. Однако небольшой опыт работы с
этим детектором показывает, что для получения стабильной нулевой линии
требуется очень тщательное термостатирование всей хроматографической системы, и
полностью реализовать его высокую чувствительность практически не удается.
1.4.4 Флуориметрические детекторы
Детектирование
по флуоресценции применяют в биологии, медицине, форма-кологии, при анализе
пищевых продуктов и контроле загрязнения окружающей среды. Флуоресцентными
свойствами, т.е. способностью излучать свет (в видимой области спектра) под
действием ультрафиолетового излучения, обладают многие биологически-активные
вещества: лекарства, витамины, стероиды. Красители, соединения с сопряженными
связями, в том числе полиядерные ароматические углеводороды, также можно
определять с помощью флуориметрического удетектора, при этом чувствительность
определения велика.
Интенсивность
флуоресцентного излучения зависит от интенсивности возбуждающего излучения и квантового выхода процесса
возбуждения. Поэтому для повышения чувствительности метода следует
использовать достаточно мощные источники света, например газоразрядные лампы
или лазеры. Применение лазеров позволяет детектировать количество вещества на
уровне 10-12 г. Метод двухфотонного лазерного возбуждения отдает
возможность использовать лазер с более низкой энергией, например, аргоновый.
Для внедрения в практику такого метода необходимо иметь достаточно широкий
спектр лазеров, перестраиваемых по длинам волн. Чувствительность детекторов по
флуоресценции для некоторых соединений оказывается на несколько порядков выше чувствительности детекторов по поглощению,
поскольку отсчет удается вести фактически от интенсивности
регистриpyeмогo излучения, близкой к нулю, на которую не накладывается
возбуждающее излучение.
Разработаны
детекторы, которые могут одновременно работать и как спектрофотометры и как
флуориметры. Детекторы с монохроматорами, позволяющими выбрать необходимые
длины волн для возбуждающего и флуоресцентного излучения, обеспечивают высокую
чувствительность и селективность, однако они оказываются значительно более
дорогими, чем флуориметры с постоянной спектральной полосой. Одним из надежных
флуориметров является детектор «Кратос».
В качестве
причин уменьшения чувствительности детекторов следует указать на поглощение
излучения при высокой концентрации вещества в ячейке, а также на потерю
излучения за счет отражения от окошек ячейки. Поэтому при работе с флуориметром
следует использовать достаточно разбавленные растворы, кроме того, возможно
применение детекторов без окошек, например с Не—Cd-лазером.
Некоторые
нефлуоресцирующие соединения разделяют в виде производных с флуорогенными
веществами. Производные получают до хроматографического разделения или после,
вводя реагент в Т-образное устройство между колонкой и детектором. Амины и
фенолы образуют диазильные производные при взаимодействии с 5-диметил-амино-1-нафтилсульфохлоридом
до разделения, а аминокислоты после разделения обрабатывают флуорескамином.
Флуориметр
применяют при анализе микропримесей, когда мала концентрация растворенного
вещества, подлежащего обнаружению. Хотя динамический диапазон флуориметра
достаточно большой (104), его линейный динамический диапазон может
быть ограничен для некоторых растворенных веществ относительно узким интервалом
концентраций (10-кратным). Для количественного анализа его следует проверять в
интересующем интервале концентраций.
Перед
количественным измерением необходимо убедиться в отсутствие фоновой
флуоресценции, эффектов гашения и проверить отклик детектора на реальный
образец.
Кислородосодержащие
растворители гасят флуоресценцию, и их так же как и элюенты, поглощающие свет в
области возбужденного излучения, нельзя применять. Галогенсодержащие
растворители (хлороформ и метиленхлорид) должны быть использованы с
осторожностью, так как имеют тенденцию ослаблять флуоресценцию. Если в
растворителе нет флуоресцирующих веществ, флуориметр может работать в
градиентном режиме. Флуориметр меньше, чем другие детекторы, зависит от
изменений температуры или давления. Однако уменьшение температуры или
увеличение вязкости некоторых растворителей затрудняет флуоресценцию.
1.4.5 Другие детекторы
Кроме
детекторов, описанных выше, для ВЭЖХ используют и другие приборы:
электрохимический, инфракрасный, детектор с диодной матрицей, масс-спектрометрический,
транспортный с пламенно-ионизационным детектированием, радиоактивный, по диэлектрической проницаемости,
электронозахватный, кулонометрический и др. Одни из них обладают высокой
селективностью или чувствительностью, другие дают важную качественную
информацию. Рассмотрим более подробно некоторые из них.
Рис. 1.14. Электродная ячейка электрохимического
детектора: 1 — выход колонки; 2 — к
электроду сравнения; 3 — фтороплатовая прокладка; 4 — рабочая камера
кюветы; 5 — рабочий электрод; 6 — блок ячейки

Электрохимический
детектор. Этот детектор можно применять для анализа всех веществ,
обладающих электрохимической активностью, т. е. способ при определенном
потенциале окисляться или восстанавливаться, соответственно отдавая или
принимая гектроны. В водных растворах эти потенциалы могут быть от +1,2 до -0,8
В (электрод сравнения — хлорсеребряный).
Вещества, содержащие фенольную, индольную или
альдегидную группы, способны окисляться при низких потенциалах (0,4—0,7
В), а вещества с нитро- или кетогруппами — восстанавливаться. Так, важные в
биологии классы веществ — катехоламины и 5-гидроксииндолы — в этих условиях
способны окисляться, отдавая два электрона. При этом и возникает ток в кювете детектора, который затем усиливается
амперометрическим детектором.
Электродная
ячейка (кювета), схема которой представлена на рисунке 1.14, состоит из двух
блоков, разделенных фторопластовой прокладкой с вырезом, представляющим собой
рабочую камеру. В центре камеры расположен тонкослойный электрод (анод) из
стеклоуглерода. Электрод сравнения размещается на выходе из ячейки. Вместимость
рабочей камеры 1 мкл, что позволяет работать с микроколонками.
Электрохимический
детектор более селективен при низких потенциалах рабочих электродов. Для 5-гидроксииндолов
нужен потенциал 0,5—0,55 В, для катехоламинов — 0.5—0,7В, для пептидов —
0,9—1,2В. Чувствительность и специфичность электрохимического детектора
высокие. По чувствительности они не уступают кулонометри-ческим детекторам,
хотя окисляющая способность тонкослойных электродов с рабочей поверхностью 2—4
мм2 составляет лишь 1—10% от количества анализируемого вещества.
Нижний предел детектирования катехоламинов и 5-гидроксииндолов составляет от 5
до 20 пг введенного в колонку вещества. На рис. 8.15 приведена хроматограмма
5-гидроксииндолов из солянокислого экстракта 0,5 мл плазмы крови.
При работе с
электрохимическим детектором необходимо учитывать следующее. Фоновые шумы тем
ниже, чем чище используемые реактивы, поэтому фосфаты нужно очищать перекристаллизацией,
использовать высокочистую воду и растворители марок «осч» или для ВЭЖХ.
Шлифовать поверхности рабочего электрода следует по мере его загрязнения и
увеличения шумов не чаще 1 раза в месяц с последующей промывкой его 50%-ным
метанолом. Обязательным является хорошее дегазирование растворителей,
желательно продувкой гелием.
Электрохимический
детектор находит применение в анализе катехоламинов, серотонина, ацетилхолина и
их метаболитов, нейропептидов, ряда лекарственных препаратов. Его можно использовать
для анализа фенолов, ароматических аминов, тиоспиртов, аскорбиновой кислоты, мочевой кислоты и других веществ в режиме
окисления. В режиме восстановления им можно детектировать хиноны,
нитросоединения, металлоорганические и другие coединения.
Существуют
другие типы ячеек, кроме вышеописанной, в том числе с капающим ртутным
электродом, трубчатым электродом, многоэлектродные ячейки и др. УФ-детектор с
диодной матрицей. Как уже отмечалось выше, в УФ-детекторах широко распространенных типов используют прохождение
через кюветы (как образца, так и сравнительной) монохроматического
света. В УФ-детекторе с фильтрами такой свет из линейчатого спектра испускания
ртутной лампы вырезается фильтром, а в спектрофотометре — вырезается из
широкого спектра испускания дейтериевой лампы с использованием дифракционной
решетки. Только в сканирующем спектрофотометре (например, с «прыгающим» зеркалом, используемым в «Милихроме») кювета
освещается последовательно несколькими монохроматическими лучами света. В
последнее время появилось очень изящное решение, позволяющее получать
непрерывно информацию о полном УФ-спектре веществ, проходящих через кювету. В
этом случае через кювету проходит полихроматический свет, т.е. весь непрерывный
спектр испускания дейтериевой лампы, который после кюветы попадает на
дифракционную решетку, где делится на монохроматические пучки, каждый из
которых попадает далее на свою фотоячейку (фотодиод), расположенные в ряд или
линейку. Отсюда название — детектор с диодной матрицей или диодной линейкой. С каждой
такой ячейки можно в любой момент получить информацию о том, как вещество,
проходящее через кювету, поглощает свет при
данной длине волны. Существуют диодные линейки с разным числом диодов:
8, 32, 64 и более.
Если вывести
информацию с каждого диода на самописец, то он запишет столько хроматограмм,
сколько есть диодов, каждую при своей длине волны. Каждая такая хроматограмма
может быть рассмотрена, рассчитана, исследована в совокупности с любой другой
или другими с привлечением математических методов с целью нахождения примесей в
пиках, примесей, которые не детектируются при использовании какой-то одной
длины волны. Если такой детектор подключить к многоканальному компьютеру, он
может вести обсчет хроматограмм, например, при 8 длинах волн. Если используют
достаточное число диодов, может быть в любой момент записан полный УФ-спектр
вещества в кювете.
Рис. 1.15. Хроматограмма
5-гидроксииндолов из солянокислого экстракта 0,5 мл плазмы крови, полученная на
колонке размером 200х3,2 мм с нуклеосилом С18 (5 мкм), подвижная фаза — 0,1 М
нитратно-фосфатный буферный раствор с 12% метанола и 0,5 мМ октилсульфата,
рН==4,6, расход 0,8 мл/мин, потенциал +0,5 В, проба 50 мкл: 1 —
5-окситриптофан; 2 — 5-оксииндолил-З-уксусная кислота; 3 — N-метилдопамин
(стандарт); 4 — серотонин

Вообще можно
считать, что детектор с диодной матрицей—это детектор, наиболее приближающийся
к универсальному детектору для исследовательской работы. Он позволяет, сняв
только одну хроматограмму, получить очень большой объем информации не только количественной, но и качественной. Такие детекторы
выпускаются в настоящее время уже несколькими фирмами, и появляются
работы по их использованию, особенно там, где объекты исследования достаточно
сложны, а объемы проб очень ограничены. Хотя стоимость таких детекторов с
полным набором требуемого обслуживающего оборудования (достаточно мощных
компьютеров, многоканальных интеграторов, графопостроителей, дисководов с
дисками и т.д.) достаточно высока, однако можно ожидать относительно быстрого
снижения их цены в будущем и расширения применения в разных областях.
ИК-детекторы.
Детекторы, основанные на поглощении в инфракрасной области спектра, в ВЭЖХ
применяют сравнительно недавно и в достаточной степени ограниченно. Главной
причиной такого положения является несовместимость ИК-детектора с основными
растворителями, применяемыми в адсорбционной и обращенно-фазной хроматографии,
а также сравнительно невысокая чувствительность. Практически для детектирования
можно использовать только некоторые полосы с наиболее высокими молярными
коэффициентами поглощения, а в качестве подвижной фазы — главным образом
хлорированные углеводороды. В частных случаях, например при детектировании по
поглощению карбонильной группы или двойной связи, для работы пригодны очень
многие растворители в широком диапазоне полярности — от гексана до ацетонитрила
и метанола.
Рис. 1.16. ММР
(1, 2) и распределение по составу (1’, 2') сополимеров пиперилена с
метилметакрилатом (ММА); продолжительность сополимеризации: 1 ч (1, 1’). 18 ч
(2, 2')

Несмотря на эти
недостатки, этот детектор имеет несомненные достоинства. Во-первых, он является
одновременно универсальным и селективным: при детектировании по поглощению
С-Н-связи он обнаруживает практически любые органические вещества, а по
поглощению функциональных групп (например, ОН, С=О, С=С и т.д.) - только
соединения, содержащие такие группы. Во-вторых, сигнал детектора почти не
зависит от молекулярной массы вещества, что существенно облегчает
количественную интерпретацию результатов. В-третьих, он может работать при
температурах до 150 °С. Все эти особенности обусловливают ценность ИК-детектора
для эксклюзионной хроматографии синтетических полимеров.
При
исследовании сополимеров ИК-детектор позволяет получить уникальную информацию о
композиционной неоднородности, которую зачастую нельзя получить никакими
другими методами. На рис. 1.16 приведены результаты исследования двух образцов
сополимеров пиперилена с метилметакрилатом. Композиционную неоднородность
оценивали по соотношению соответствующих высот на двух хроматограммах,
записанных ИК-детектором Миран-1A по поглощению групп С-Н (А,=3,43 мкм) и С=0 (^=5,75
мкм). Первая Хроматограмма отражала общее ММР сополимера, а вторая -
распределение метилметакрилата в пределах
этого ММР. Хроматограммы снимали на составной колонке размером 2(300Х7,8 мм) с
ц-сферогелем (103А+105А) при 40 °С и скорости потока тетрагидрофурана
1 мл/мин. Данные рис. 8.16 наглядно показывают изменение дифференциальных
кривых ММР, состава и композиционной неоднородности на начальной и конечной
стадиях реакции, которые обусловлены различной реакционной способностью
сомономеров. Чувствительность ИК-детектора в оптимальных условиях достигает 10-6—5.10-7
г/мл, т. е. сопоставима с чувствительностью рефрактометра. В последние
годы ведутся интенсивные исследования по использованию в качестве детекторов
ИК-спектрофотометров с преобразованием Фурье, что позволит повысить их
чувствительность примерно на порядок.
Литература:
1.
Fitzpatrick F.A., Wanalda M.A., Kaiser D.G. Anal. chem, 1977,
v. 49, p. 1032.
2.
Dunlap K.L.,
Sandridge R.L., Keller. Anal. Chem, 1976, v. 48, p. 297.
3.
Poole C.F, E. A.J.
High Resol. Chromatogr.
Commun., 1978, v. 1, p. 83.
4.
Denkert M.E. A.J. Chromatogr, 1981, v. 218, p. 31-43.
5.
Bartha A.E. A.J. Chromatogr, 1984, v. 303, p. 29-38.
6.
Gloor R., Johnson
E.L.. Chromatogr. Sci,
1977, v. 15, p. 413-423.
7.
Kraak J.C., Jonker
K.M., Huber J.F.K.J. Chromatogr,
1977, v. 142, p. 671-680.
8.
Wehli A.E. A.J. Chromatogr, 1979, v. 149, p. 199-210.
9.
Даванков В.Л. Журн. ВХО им. Менделеева, 1983, т. XXVIII, № 1, с. 25-29.
10.Даванков В.А. в кн. Прикладная хроматография Под ред. К. И.
Сакодынского. М, Наука, 1984, с. 24-32.
11.Davankov V.A., Kurganov A. A., Bochkov A. S.fln Advances in Chroma-tographyed. J.C. Giddings E. A.
N. Y, M. Dekker, 1983, v. 22, p. 139— 185.
12.Apffel J.A., Alfredson
T.V., Major R.E./J. Chromatogr, 1981, v. 206, p. 43-57.