Реферат: Некоторые методы определения характеристик деформируемо-сти и прочности грунтов
Реферат: Некоторые методы определения характеристик деформируемо-сти и прочности грунтов
Полевые испытания пробной статической
нагрузкой
Полевые
испытания пробной статической нагрузкой используются для определения как
деформационных, так и прочностных характеристик в тех случаях, когда
оказывается трудно или даже невозможно отобрать образцы грунта без нарушения их
природного состояния. Кроме того, полевые испытания являются основным методом
исследования трещиноватых скальных грунтов.
Испытания
пробной статической нагрузкой для определения модуля деформации грунтов
проводятся в шурфах или скважинах инвентарными жесткими штампами в первом
случае площадью 5000…10000 см2, во втором – 600 см2.

а) б)









Рис.
1. Схема (а) и результаты (б) полевых испытаний грунта на сжатие.
Схема
опыта показана на рис. 1, а. На дно шурфа или скважины 1 устанавливается плотно
притертый к основанию штамп 2, соединенный стойкой 3 с нагрузочной платформой
4. К платформе прикладывается возрастающая ступенями нагрузка 5 ( в
производственных условиях часто создается фундаментными блоками). Зная давление
,
создаваемое в основании штампа нагрузкой, и измеряя стабилизированную осадку
от каждой
ступени, можно построить опытную зависимость
, показанную на рис. 1,б. Начальный
участок этой кривой соответствует модели линейного деформирования грунта. Тогда
модуль деформации грунта определяется по формуле:
,
(1)
где
-
коэффициент, зависящий от формы жесткого штампа и принимаемый для круглого
штампа равным 0,78; для квадратного – 0,88;
- ширина или диаметр штампа;
- коэффициент
Пуассона грунта;
,
- давление и осадка штампа в
пределах линейной зависимости кривой на рис. 1,б.
Модуль
деформации изотропных грунтов можно определять с помощью прессиометра. В
результате испытаний получают график зависимости приращения радиуса скважины от
давления на ее стенки. Модуль деформации определяют на линейный участок и
вычисляют по формуле:
, где
- коэффициент, принимаемый равным
3 при глубине
, 2 при глубине
и 1,5 при глубине
;
- начальный радиус скважины;
-
приращение радиуса, соответствующее
.
Определение прочностных характеристик в
полевых условиях
Испытания
проводятся в шурфах, котлованах и других выработках. Для получения характеристик
и
определяют
сопротивление срезу не менее чем трех целиков при различных вертикальных
нагрузках. Схемы испытаний принимаются те же, что и в лабораторных условиях.
Значения
и
находят на
основе построения зависимости сопротивления срезу грунта
от нормального
напряжения
.

Рис.
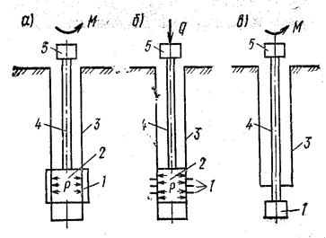
2. Схемы испытаний грунта в скважинах на срез.
а)
– кольцевой; б) – поступательный; в) – вращательный крыльчаткой:
1
– лопасти; 2 - распорные штампы; 3 - скважины; 4 – штанги; 5 – устройства для создания
и измерения усилия.
Полевое
определение характеристик
и
в стенах буровой скважины
проводится методами кольцевого и поступательного среза. Схемы испытаний
приведены на рис. 2. Эти методы применяются для испытаний грунтов на глубинах
до 10 м (кольцевой срез) и до 20 м (поступательный срез). В методе кольцевого
среза используется распорный штамп с продольными лопастями, в методе
поступательного среза – с поперечными лопастями. С помощью распорного штампа
лопасти вдавливаются в стенки скважины, и создается нормальное давление на
стенки. В методе кольцевого среза грунт срезается вследствие приложения крутящего
момента, а в методе поступательного среза – выдергивающей силы. Для получения
характеристик
и
необходимо провести не менее трех
срезов при различных нормальных давлениях на стенки скважины и построить
зависимость
.
Метод
вращательного среза с помощью крыльчатки, вдавливаемой в массив грунта или в
забой буровой скважины (см. рис. 2,б) позволяет определить сопротивление срезу
, поэтому его
рекомендуется применять при слабых пылевато-глинистых грунтах, илах, заторфованных
грунтах и торфах, так как для них угол внутреннего трения практически равен нулю
и можно принять
. Испытания крыльчаткой проводят на
глубинах до 20 м.
Для
определения характеристик прочности в полевых условиях применяют методы выпирания
и обрушения грунта в горных выработках. Значения
и
вычисляют из условий предельного равновесия
выпираемого и обрушаемого массива грунта.
Для
определения удельного сцепления связных грунтов в полевых условиях Н.А.
Цытовичем был предложен и широко используется в практике изысканий метод
шариковой пробы. Существо метода заключается в том, что с помощью шарика
диаметром
на
грунт передается усилие
и измеряется осадка штампа
(рис.3). Тогда
в соответствии с решением академика А.Ю. Ишлинского сцепление можно определить
по формуле
.
(2)
При
проведении испытаний необходимо, чтобы отношение осадки штампа к его диаметру
находилось в пределах
.


а) б)




Рис.
3. Схема испытаний шариковым штампом (а) и кривая длительной прочности грунта
(б).
Полученное
таким образом значение сцепления соответствует определенному в сдвиговых испытаниях
для вязких очень малоуплотняющихся грунтов при
(жирные глинистые грунты, мерзлые
грунты и т.п.). При большем значении угла внутреннего трения грунта В.Г.
Березанцев рекомендует в правую часть формулы (2) вводить понижающий
коэффициент
.
Так, например, при
; при
; при
.
Метод
шариковой пробы удобен для определения изменения прочностных свойств грунтов в
зависимости от времени действия нагрузки. Поскольку осадка
с течением времени
увеличивается, в соответствии с формулой (2) шариковое сцепление будет
уменьшаться. Это позволяет ввести понятия мгновенной прочности
, прочности,
соответствующей некоторому времени
-
и предела длительной прочности
, к которому
будет стремиться сцепление при очень продолжительном времени действия нагрузки.
Деформационные
и прочностные характеристики грунтов могут быть определены с помощью статического
и динамического зондирования. Зондирование основано на определении
сопротивления погружению в грунт наконечника-зонда на глубину, превышающую его
размеры.
Статическое
зондирование заключается в медленном задавливании в грунт с помощью домкратов
стандартного зонда – конического наконечника с углом при вершине 600.
В
простейшем случае измеряют удельное сопротивление погружению конуса зонда
и строят график
изменения этой величины по глубине исследуемой толщи грунта. Зная величину
можно
определить модуль деформации:
для
пылевато-глинистых грунтов
;
для
песчаных грунтов
.
Характеристики
сопротивления сдвигу пылевато-глинистых грунтов по данным статического зондирования
определяют по эмпирическим формулам:
;
.
Динамическое
зондирование производится путем забивки или ударно-вращательного погружения в
грунт зонда из колонки штанг с коническим наконечником. При этом определяется
показатель зондирования
, равный числу ударов, необходимых
для погружения зонда на 10 см. Результаты отображаются на графике. Зная из
опыта величину
, удельную энергию зондирования,
зависящую от параметров установки, и ряд коэффициентов, учитывающих
динамический процесс зондирования, можно определить динамическое сопротивление
грунта
. В
свою очередь, величина
позволяет судить о плотности
песчаных грунтов, значении их прочностных и деформационных показателей, а также
об ориентировочном значении модуля деформации суглинков и глин.
Список литературы
Для
подготовки данной работы были использованы материалы с сайта http://www.shpora-zon.narod.ru/